| key | PART NO. | PART NAME | QTY | SERIAL NO. | REMARKS | ||
|---|---|---|---|---|---|---|---|
| 1 | AA83963 | Гидравлический цилиндр | 1 | - | 775100 | ||
| AA93590 | Гидравлический цилиндр | 1 | 775101 | - | |||
| AA75316 | Комплект уплотнений | 1 | Package Kit | ||||
| 2 | 40M7400 | Пружинное кольцо | 4 | ||||
| 3 | A100704 | Штифт | 4 | Нижн. | |||
| 4 | A100881 | Штифт | 1 | Верхний | |||
| 5 | AH19943 | Коленчатый патрубок | 2 |
| key | PART NO. | PART NAME | QTY | SERIAL NO. | REMARKS | ||
|---|---|---|---|---|---|---|---|
| 1 | AA83961 | Гидравлический цилиндр | 1 | 730101 | - | 775100 | |
| AKK19362 | Гидравлический цилиндр | 1 | 775101 | - | |||
| AH239480 | Комплект уплотнений | 1 | Cylinder Pack Kit; USE WITH AA83961 | ||||
| KK15827 | Комплект уплотнений | 1 | Cylinder Pack Kit; USE WITH AKK19362 | ||||
| AA97240 | Гидравлический цилиндр | 1 | 5” Bore | ||||
| AA97919 | Комплект уплотнений | 1 | Cylinder Pack Kit; USE WITH AA97240 | ||||
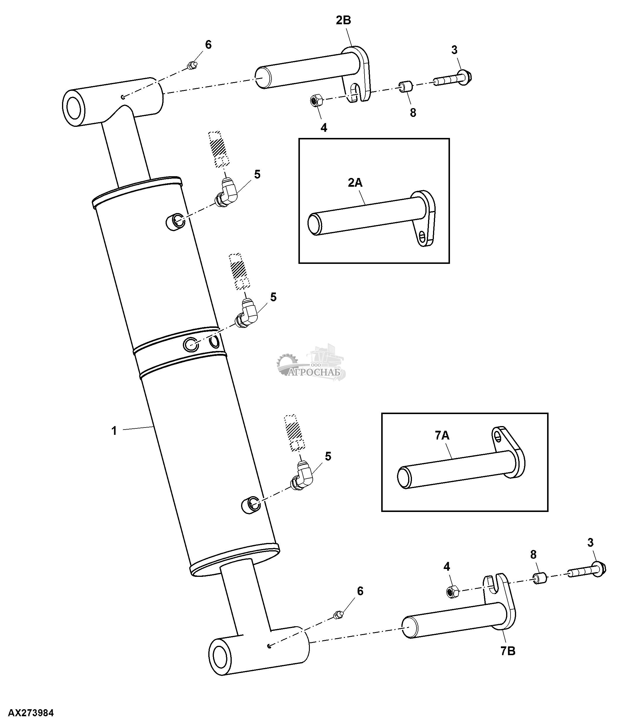
| 2A | AA84091 | Штифт | 1 | ORDER AA88346, Upper | |||
| 2B | AA88346 | Штифт | 1 | ||||
| 3 | 19M7817 | Винт | 2 | M12 X 70 | |||
| 4 | 14M7653 | Стопорная гайка | 2 | M12 | |||
| key | PART NO. | PART NAME | QTY | SERIAL NO. | REMARKS | ||
| 5 | X8C5OX-S | Коленчатый патрубок | 4 | ||||
| 6 | JD7842 | Смазочная арматура | 2 | ||||
| 7A | AA84092 | Штифт | 1 | ORDER AA88352, Lower | |||
| 7B | AA88352 | Штифт | 1 | ||||
| 8 | A62151 | Распорная втулка | 2 |
| key | PART NO. | PART NAME | QTY | SERIAL NO. | REMARKS | ||
|---|---|---|---|---|---|---|---|
| 1 | AA77082 | Гидравлический цилиндр | 1 | - | 755100 | ||
| AA84387 | Гидравлический цилиндр | 1 | 755101 | - | |||
| AA77086 | Комплект уплотнений | 1 | |||||
| 2 | AA88413 | Штифт | 1 | SUB FOR A91439 | |||
| 3 | A91437 | Штифт | 1 | ||||
| 4 | A90407 | Втулка | 1 | ||||
| 5 | A62717 | Пружинное кольцо | 1 | ||||
| 6 | X4-6F5OX-S | Фитинг | 1 | Hydraulic Fitting | |||
| 7 | X4-6C5OX-S | Адаптер | 1 | Hydraulic Adapter | |||
| 8 | 14M7653 | Стопорная гайка | 1 | M12 | |||
| key | PART NO. | PART NAME | QTY | SERIAL NO. | REMARKS | ||
| 9 | 03M7201 | Болт | 1 | M12 X 45 | |||
| 10 | JD7842 | Смазочная арматура | 1 |
| key | PART NO. | PART NAME | QTY | SERIAL NO. | REMARKS | |
|---|---|---|---|---|---|---|
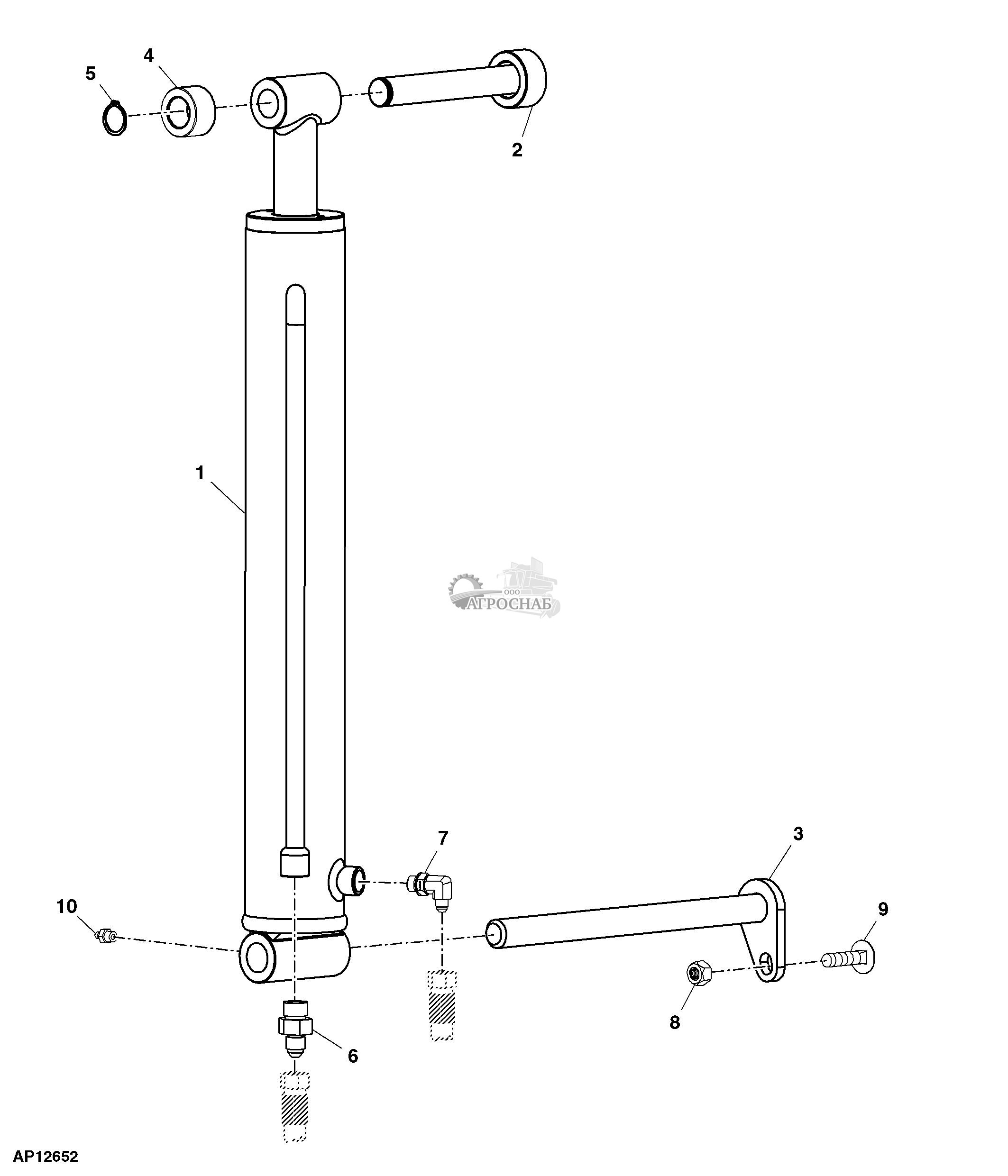
| 1 | AH239476 | Гидравлический цилиндр | 1 | |||
| AH239479 | Комплект барабанов | 1 | Cylinder Packing Kit | |||
| 2 | R92381 | Крепление со штифтом | 1 | |||
| 3 | A91436 | Штифт с канавкой | 1 | |||
| 4 | A15146 | Штифт | 1 | |||
| 5 | A90418 | Втулка | 1 | |||
| 6 | A62717 | Пружинное кольцо | 1 | |||
| 7 | X8C5OX-S | Коленчатый патрубок | 1 |
| key | PART NO. | PART NAME | QTY | SERIAL NO. | REMARKS | |
|---|---|---|---|---|---|---|
| 1 | AA83962 | Гидравлический цилиндр | 1 | |||
| AA75319 | Комплект барабанов | 1 | Cylinder Packing Kit | |||
| 2 | JD7842 | Смазочная арматура | 2 | |||
| 3 | X8C50X-S | Адаптер | 2 | Hydraulic Adapter | ||
| 4A | AA75329 | Штифт | 1 | ORDER AA88318 | ||
| 4B | AA88318 | Штифт | 1 | |||
| 5A | A91454 | Штифт | 1 | ORDER AA88415 | ||
| 5B | AA88415 | Штифт | 1 | |||
| 6 | 19M7790 | Винт | 2 | M12 X 35 |
| key | PART NO. | PART NAME | QTY | SERIAL NO. | REMARKS | ||
|---|---|---|---|---|---|---|---|
| 1 | AA75311 | Гидравлический цилиндр | 1 | - | 765100 | ||
| AA83976 | Гидравлический цилиндр | 1 | 765101 | - | |||
| AA75314 | Комплект барабанов | 1 | Cylinder packing kit | ||||
| 2 | A100992 | Болт | 2 | ||||
| 3 | 14M7276 | Гайка | 2 | M16 | |||
| 4 | X4-4CTXS | Фитинг | 2 | Hydraulic Fitting |
| key | PART NO. | PART NAME | QTY | SERIAL NO. | REMARKS | |
|---|---|---|---|---|---|---|
| 1 | 51M7045 | Уплотнительное кольцо | 1 | 19.300 X 2.200 mm | ||
| 2 | RE248312 | Фитинг переходника | 1 | |||
| 3 | RE584722 | Срывная муфта | 1 | SUB FOR RE222718 | ||
| 4 | A79902 | Крышка | 1 |
| key | PART NO. | PART NAME | QTY | SERIAL NO. | REMARKS | |
|---|---|---|---|---|---|---|
| 1 | RE219013 | Гидрошланг | 1 | Motor Seal Drain Fan | ||
| 2 | RE219012 | Гидрошланг | 1 | Motor Seal Drain | ||
| 3 | 38H5181 | Фитинг переходника | 1 | |||
| 4 | R219009 | Кронштейн | 1 | |||
| 5 | R120797 | Пружинное кольцо | 2 | |||
| 6 | RE214614 | Быстросъемн. гидр. муфта | 1 | |||
| 7 | A79902 | Крышка | 1 | |||
| 8 | 19M7798 | Винт | 4 | M8 X 40 | ||
| 9 | 24M7336 | Шайба | 4 | 9 X 16 X 1.600 mm | ||
| 10 | 14M7426 | Стопорная гайка | 4 | M8 | ||
| key | PART NO. | PART NAME | QTY | SERIAL NO. | REMARKS | |
| 11 | R105388 | Обвязной хомут | 2 | |||
| 12 | TY22463 | Скоба | 5 | SUB FOR AR21837 | ||
| 13 | R209412 | Тройник | 1 | |||
| 14 | T38282 | Фитинг шланга | 1 | |||
| 15 | R26375 | Уплотнительное кольцо | 1 | |||
| 16 | T28949 | Скоба | 2 | |||
| 17 | R216119 | Фитинг | 1 | |||
| 18 | 51M7047 | Уплотнительное кольцо | 2 | 23.600 X 2.900 mm | ||
| 19 | 38H5245 | Коленчатый патрубок | 1 | |||
| 20 | AL156625 | Масляный фильтр | 1 | |||
| key | PART NO. | PART NAME | QTY | SERIAL NO. | REMARKS | |
| 21 | RE218666 | Комплект фильтра | 1 | |||
| 22 | R219058 | Уголок | 1 | For Wheel Tractors | ||
| 23 | R220098 | Кронштейн | 1 | For Track Tractors | ||
| 24 | 24M7180 | Шайба | 1 | 13 X 37 X 3 mm | ||
| 25 | 19M7783 | Винт | 3 | M10 X 16 | ||
| 26 | T77857 | Уплотнительное кольцо | 2 | |||
| 27 | 03M7201 | Болт | 1 | M12 X 45 | ||
| 28 | 24M7047 | Шайба | 1 | 13 X 24 X 2.500 mm | ||
| 29 | 24H1272 | Шайба | 2 | 9/16" X 1-1/4" X 1/4" | ||
| 30 | 14M7275 | Гайка | 1 | M12 | ||
| key | PART NO. | PART NAME | QTY | SERIAL NO. | REMARKS | |
| 31 | AA60345 | Шланг | 1 | |||
| 32 | R30815 | Фитинг | 1 | |||
| 33 | 19M8011 | Винт с головкой | 2 | M12 X 30 | ||
| 34 | T59940 | Зажимная скоба | 1 |
| key | PART NO. | PART NAME | QTY | SERIAL NO. | REMARKS | |
|---|---|---|---|---|---|---|
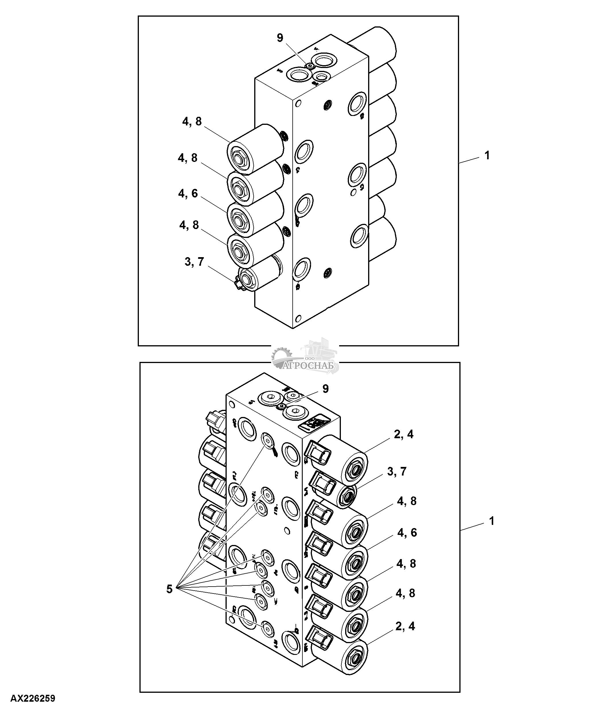
| 1 | AA84476 | Гидравл. нагнетат. клапан | 1 | 1378 kPa, 200 psi, 3 Section Frame Machines ORDER AA92927 | ||
| AA92927 | Гидравл. нагнетат. клапан | 1 | 2068 kPa, 300 psi, 3 S ection Frame Machines | |||
| AA84477 | Гидравл. нагнетат. клапан | 1 | 630 psi, 5 Section Frame Machines | |||
| 2 | A73181 | Трубная заглушка | 5 | |||
| 3 | A73182 | Трубная заглушка | 6 | |||
| 4 | AA75238 | Электромагнитный клапан | 2 | |||
| AT224864 | Комплект уплотнений | 1 | ||||
| 5 | AA75260 | Электрическая обмотка | 3 | |||
| 6 | AA84422 | Клапан | 1 | USE WITH AA84476 | ||
| AA92926 | Клапан | 1 | USE WITH AA92927 | |||
| key | PART NO. | PART NAME | QTY | SERIAL NO. | REMARKS | |
| AT224864 | Комплект уплотнений | 1 | ||||
| AA84424 | Клапан | 1 | USE WITH AA84477 | |||
| AT196943 | Комплект уплотнений | 1 | USE WITH AA84477 | |||
| 7 | AA84423 | Редукционный клапан | 1 | |||
| AXE15749 | Комплект уплотнений | 1 | ||||
| 8 | AA84481 | Электромагнитный клапан | 1 | |||
| AN207423 | Комплект уплотнений | 1 | ||||
| 9 | AH228048 | Обратный клапан | 3 | |||
| 10 | R26448 | Уплотнительное кольцо | 6 | |||
| 11 | R30903 | Уплотнительное кольцо | 5 |
| key | PART NO. | PART NAME | QTY | SERIAL NO. | REMARKS | |
|---|---|---|---|---|---|---|
| 1 | AA84474 | Гидравл. нагнетат. клапан | 1 | |||
| 2 | AA75238 | Электромагнитный клапан | 1 | |||
| AT224864 | Комплект уплотнений | 1 | ||||
| 3 | AA75259 | Электрическая обмотка | 1 | |||
| 4 | AA75260 | Электрическая обмотка | 1 | |||
| 5 | AA84423 | Редукционный клапан | 1 | |||
| AXE15749 | Комплект уплотнений | 1 | ||||
| 6 | AH209111 | Клапан | 1 | |||
| AH209117 | Комплект уплотнений | 1 | ||||
| 7 | AH211225 | Клапан | 1 | |||
| key | PART NO. | PART NAME | QTY | SERIAL NO. | REMARKS | |
| AH209116 | Комплект уплотнений | 1 | ||||
| AT324911 | Комплект уплотнений | 1 | ||||
| 8 | AN235698 | Контрольный клапан | 1 | |||
| AH209117 | Комплект уплотнений | 1 | ||||
| N223292 | Гайка | 1 | ||||
| 9 | A73181 | Трубная заглушка | 1 |
| key | PART NO. | PART NAME | QTY | SERIAL NO. | REMARKS | |
|---|---|---|---|---|---|---|
| 1 | AA75331 | Клапан | 2 | |||
| 2 | 14M7273 | Гайка | 2 | M8 | ||
| 3 | AH20193 | Коленчатый патрубок | 4 | |||
| 4 | R31665 | Фитинг | 4 | |||
| 5 | 19M7691 | Винт с головкой | 2 | M8 X 90 |
| key | PART NO. | PART NAME | QTY | SERIAL NO. | REMARKS | |
|---|---|---|---|---|---|---|
| 1 | AA77030 | Клапан | 1 | INCLUDES AT361540 | ||
| 2 | R31665 | Фитинг | 6 | |||
| 3 | AH20193 | Коленчатый патрубок | 2 | |||
| 4 | AT361540 | Заглушка фитинга | 2 | |||
| 5 | 19M8093 | Винт с головкой | 2 | M10 X 100 | ||
| 6 | R26906 | Уплотнительное кольцо | 6 | |||
| 7 | T77857 | Уплотнительное кольцо | 6 |
| key | PART NO. | PART NAME | QTY | SERIAL NO. | REMARKS | |
|---|---|---|---|---|---|---|
| 1 | AA84165 | Жгут проводов | 1 | |||
| 2 | AE46311 | Клемма электр. разъема | 1 | Inter Connector to Frame Rear | ||
| 57M7765 | Стопорная шайба | 1 | ||||
| E73240 | Гайка | 1 | ||||
| 3 | RE12364 | Узел электрич. разъема | 1 | inter Connector Auto Marker | ||
| 4 | 57M7627 | Узел электрич. разъема | 1 | CAN | ||
| 57M7675 | Узел электрич. разъема | 1 | ||||
| 5 | 57M7627 | Узел электрич. разъема | 1 | I-Steer | ||
| 57M7675 | Узел электрич. разъема | 1 | ||||
| 6 | RE12363 | Клемма электр. разъема | 1 | AUX Light | ||
| key | PART NO. | PART NAME | QTY | SERIAL NO. | REMARKS | |
| 7 | RE12363 | Клемма электр. разъема | 1 | AUX Power | ||
| 8 | 57M11420 | Корпус электр. разъема | 1 | EU Light | ||
| 57M7679 | Клемма электр. разъема | 1 | ||||
| 9 | 57M11420 | Корпус электр. разъема | 1 | NA Light | ||
| 57M7679 | Клемма электр. разъема | 1 | ||||
| 10 | 57M7534 | Корпус электр. разъема | 1 | Field | ||
| 57M7620 | Узел электрич. разъема | 1 | ||||
| 11 | 57M7534 | Корпус электр. разъема | 1 | Translift 2A | ||
| 57M7620 | Узел электрич. разъема | 1 | ||||
| 12 | 57M7534 | Корпус электр. разъема | 1 | Translift 1A | ||
| key | PART NO. | PART NAME | QTY | SERIAL NO. | REMARKS | |
| 57M7620 | Узел электрич. разъема | 1 | ||||
| 13 | 57M10244 | Клемма электр. разъема | 1 | VC_Ring_M16 | ||
| 14 | 57M7534 | Корпус электр. разъема | 1 | Translift 2 | ||
| 57M7620 | Узел электрич. разъема | 1 | ||||
| 15 | 57M7534 | Корпус электр. разъема | 1 | Fold Assist 2 | ||
| 57M7620 | Узел электрич. разъема | 1 | ||||
| 16 | 57M7534 | Корпус электр. разъема | 1 | Fold 2 | ||
| 57M7620 | Узел электрич. разъема | 1 | ||||
| 17 | 57M7534 | Корпус электр. разъема | 1 | Tongue Latch 2 | ||
| 57M7620 | Узел электрич. разъема | 1 | ||||
| key | PART NO. | PART NAME | QTY | SERIAL NO. | REMARKS | |
| 18 | 57M7534 | Корпус электр. разъема | 1 | Right Marker | ||
| 57M7620 | Узел электрич. разъема | 1 | ||||
| 19 | 57M7534 | Корпус электр. разъема | 1 | Translift 1 | ||
| 57M7620 | Узел электрич. разъема | 1 | ||||
| 20 | 57M7534 | Корпус электр. разъема | 1 | Fold Assist 1 | ||
| 57M7620 | Узел электрич. разъема | 1 | ||||
| 21 | 57M7534 | Корпус электр. разъема | 1 | Fold 1 | ||
| 57M7620 | Узел электрич. разъема | 1 | ||||
| 22 | 57M7534 | Корпус электр. разъема | 1 | Tongue Latch 1 | ||
| 57M7620 | Узел электрич. разъема | 1 | ||||
| key | PART NO. | PART NAME | QTY | SERIAL NO. | REMARKS | |
| 23 | 57M7534 | Корпус электр. разъема | 1 | Left Marker | ||
| 57M7620 | Узел электрич. разъема | 1 |